 |
產品分類 |
 |
|
|
|
 |
|
首頁 - 產品展廳 - 產品介紹 |
|
 |
 |
|
Y型料漿閥
上海代益閥門專業生產Y型料漿閥,不銹鋼手動Y型料漿閥,法蘭Y型料漿閥,螺紋Y型料漿閥,JS45Y氣動漿液閥,電動Y型料漿閥
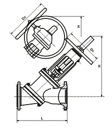
手動Y型料漿閥詳細資料: 一、產品特點: 手動Y型料漿閥采用Y型直通式結構,流阻小、不容易結疤,左右閥體分開式,兩閥體之間夾有閥座,維修時只需拆開兩閥體的螺栓就可清洗或修理,若有損壞的零件也可以及時更換,閥體內腔受沖刷較嚴重的部位裝有硬質合金的保護襯板,在開啟閥門時,可以保護閥體不被介質沖刷、腐蝕,從而大大地提高了閥門的使用壽命,密封面之間堆焊硬質合金,硬度高。 閥瓣采用錐形密封面,閥座選用一個極小的圓弧形密封面。這樣,在閥瓣與閥座密合時形成一種類似線密封的密封形式,密封效果極佳。此外還可有較強的防止了結疤的現象,閥門帶有上密封結構,全開時可以保護填料,閥門導向裝置設置在體腔外部,不與介質接觸,防止了類似閘閥的導向部位卡死現象。 二、產品用途: 料漿閥主要用于鋁廠,料漿閥根據實際情況的需要,要求達到“三耐一防” 的高性能,即耐磨、耐壓、耐沖刷、防止結疤,放底結構設計為凸型,閥體為V型,并提供提升和下降兩種工作方式閥瓣。在化工、石油、冶金、染料、食品加工等行業廣泛使用。各種操作方式,例如手動,氣動(彈簧復位式,雙作用式、帶手輪和不帶手輪),電動,液動,傘齒輪等。 三、主要外形連接尺寸:  
型號
|
公稱壓力PN |
尺寸(mm) |
| DN |
50 |
100 |
125 |
150 |
150△ |
200 |
250 |
300 |
SJS45Y-16C SJS545Y-16C |
1.6 |
L |
230 |
350 |
400 |
480 |
480 |
600 |
730 |
850 |
| H |
320 |
464 |
510 |
710 |
595 |
810 |
920 |
1120 |
| DO |
240 |
280 |
320 |
360 |
360 |
500 |
500 |
600 |
| 重量WT(kg) |
36 |
66 |
90 |
105 |
105 |
185 |
305 |
420 |
SJS45Y-25C SJS545Y-25C |
2.5 |
L |
230 |
350 |
400 |
480 |
480 |
600 |
730 |
850 |
| H |
320 |
464 |
510 |
710 |
595 |
810 |
920 |
1120 |
| DO |
240 |
280 |
320 |
360 |
360 |
500 |
500 |
600 |
| 重量WT(kg) |
38 |
69 |
95 |
114 |
114 |
195 |
315 |
435 |
SJS45Y-40C SJS545Y-40C |
4.0 |
L |
230 |
350 |
400 |
480 |
480 |
600 |
730 |
850 |
| H |
320 |
464 |
510 |
710 |
595 |
810 |
920 |
1120 |
| DO |
240 |
280 |
320 |
360 |
360 |
500 |
500 |
600 |
| 重量WT(kg) |
42 |
70 |
95 |
114 |
114 |
195 |
315 |
435 |
SJS45Y-64C SJS545Y-64C |
6.4 |
L |
380 |
430 |
500 |
550 |
550 |
650 |
775 |
900 |
| H |
350 |
490 |
550 |
750 |
635 |
860 |
980 |
1120 |
| DO |
360 |
400 |
400 |
500 |
500 |
600 |
680 |
800 |
| 重量WT(kg) |
47 |
75 |
105 |
124 |
124 |
210 |
335 |
460 | |
|
|
|